Sony, oyun deneyimini kökten değiştirebilecek potansiyele sahip yeni bir yapay zeka patentini tescil etti! Eylül 2024’te dosyalanan bu yenilikçi başvuru, Dünya Fikri Mülkiyet Örgütü tarafından bu hafta resmen yayınlandı.
Yapay Zeka Oyun Dünyasına Giriyor
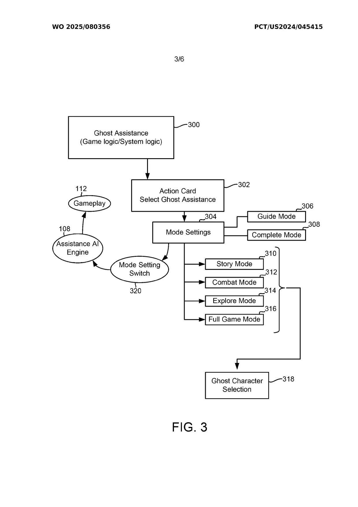
Bu belgeler, yapay zekanın bildiğimiz anlamda oyuncunun yerine geçerek oyunu oynayabileceğini detaylandırıyor. Karakterinizin adeta bir ‘hayaletini’ (ghost) oluşturarak size bir sonraki hamleyi gösterebilir, hatta zorlu bir bölümü veya bulmacayı tamamen sizin için çözebilir.
Nasıl Çalışacak Bu Mekanik?
Düşünün ki takıldığınız bir noktada, oyun size doğru yolu gösteren veya sizin yerinize aksiyon alan bir nevi dijital yardımcı spawn ediyor. Bu, hem yeni başlayanlar için inanılmaz bir erişilebilirlik sağlayabilir hem de deneyimli oyuncuların zorlandığı yerlerde işleri kolaylaştırabilir.
Uncharted Evreninden Bir Örnekle
Uncharted serisini örnek alırsak, ‘Rehber Modu’ (Guide Mode) aktif edildiğinde ikinci bir Nathan Drake sahneye çıkıp size bir bulmacanın çözümünü tık diye gösterebilir. ‘Tamamlama Modu’nda (Complete Mode) ise bu dijital ikiz, bulmacayı tamamen kendi başına çözerek görevi tamamlar. Ardından oyuncu dilediği zaman kontrolü devralıp macerasına devam edebilir. Bu AI’ın, oyunun mevcut oynanış videoları ve walkthrough’ları üzerinden eğitileceği belirtiliyor. Yani, adeta profesyonel oyuncuların bilgisiyle beslenen bir yapay zeka!
Gelecek mi, Sadece Bir Patent mi?
Peki, bu yenilikçi patent gelecekte oyunlarımıza entegre edilecek mi? Unutmamak gerekir ki, bir patentin tescillenmesi, her zaman o özelliğin halka açık bir ürüne dönüşeceği anlamına gelmez. Ancak Sony’nin bu adımı, yapay zekanın oyunlardaki rolü ve oyuncu deneyimi üzerindeki potansiyel etkileri hakkında heyecan verici ve bir o kadar da tartışmalı soruları gündeme getiriyor. Bu, oyunların geleceği için büyük bir adım mı, yoksa sadece bir konsept mi kalacak, zaman gösterecek.
Oyun Dünyasında Yeni Devir: Sony’den Takıldığınız Yeri Geçen Yapay Zeka Hamlesi! ile ilgili aktaracaklarımız şimdilik bu kadar. Bütün içeriklerimizden haberdar olmak için; X Hesabımız'dan, Bluesky'dan, Reddit'ten, Facebook'tan ve Pinterest üzerinden bizi takip edin. Ayrıca Telegram grubumuza katılarak içeriklerimizle ilgili anlık bildirim alabilirsiniz.




